9I果冻制作厂_911制品厂麻花

拨号18702200545
产物目录
展开

你的位置:首页 > 技术文章 > 基于局部应变法考虑残余应力的表面硬化缺口件的两点疲劳强度评估

技术文章

基于局部应变法考虑残余应力的表面硬化缺口件的两点疲劳强度评估

技术文章

背景介绍

在制造齿轮、轴承或轴等高应力部件时,通常使用表面硬化工艺来提高中低强度钢的抗疲劳和耐磨性。因此,不均匀的材料特性(如强度和硬度梯度以及残余应力)被引入部件中。因此,硬化表面层比部件内部的低强度芯材表现出更好的机械特性,因为它具有更高的强度和引入的压缩残余应力,从而延长了疲劳寿命。与弹性变形行为不同,两个材料区域的弹塑性不同,而表层表现出更高的屈服点,因此对塑性变形的抵抗力明显更高。然而,根据部件的几何形状和施加的载荷,塑性变形可能首先发生在表面层或芯材中。由于组件中的材料特性不均匀,因此失效可能源于低强度芯材和高强度表面层之间过渡区域的缺口根部或子表面。考虑到这些影响对于工业用户来说仍然是一个挑战,这需要成本高昂的试验或广泛的数值研究。在组件设计阶段就考虑这种机械行为的简单且最好是标准化的方法将非常有益,以实现当今日益重要的生态和经济可持续性。

成果介绍

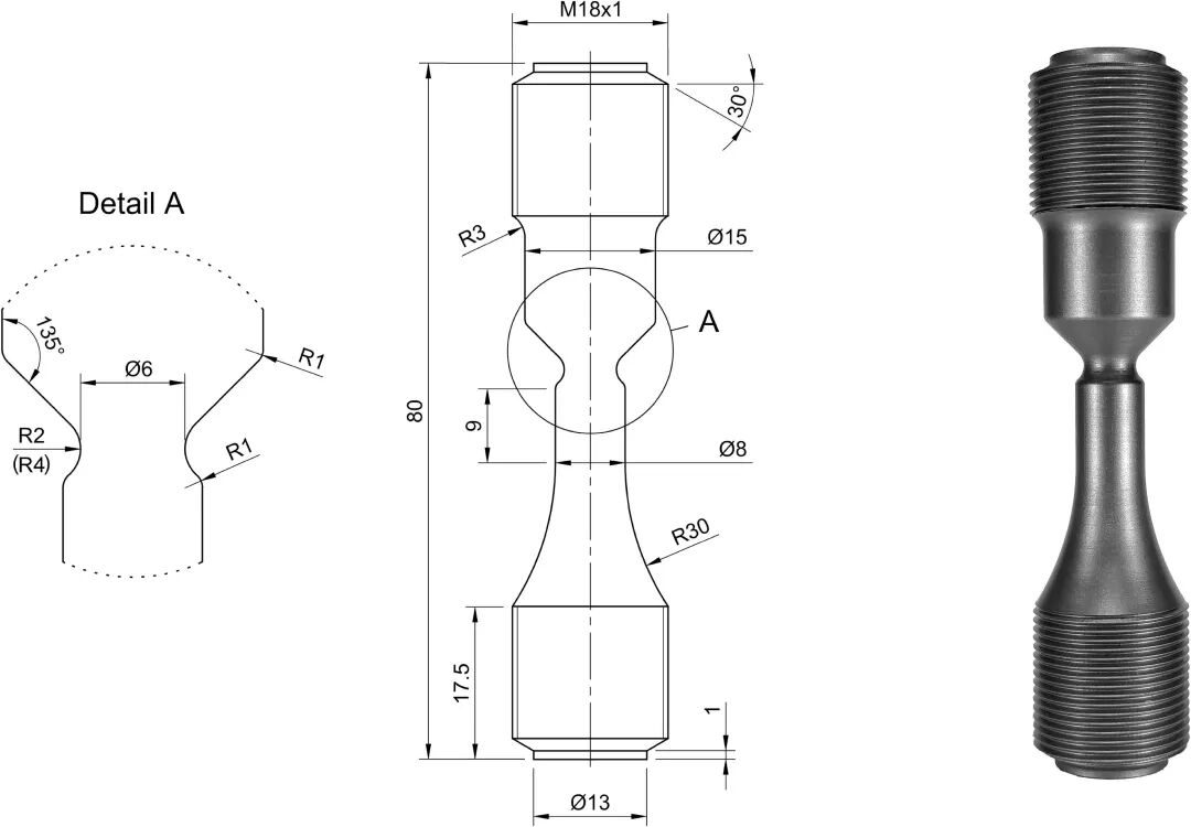
(1)为了确定不同表面层硬化处理对疲劳寿命的影响,进行了试验调查,并验证了开发用于调整疲劳强度评估的数值和分析方法。研究包括断口检查以确定失效根源以及残余应力、硬度深度和表面粗糙度的测量。为此,使用了带缺口的圆形状试样,参见图 1,其中测试了 R = 2 mm 和 = 4 mm 的两个不同缺口半径的试样。

图1 缺口试样的技术图纸(左),由 16MnCr5 制成的表面硬化缺口试样示例(右)

(2)图 2(左)将疲劳试验结果与表面硬化深度为 CHD1 = 0.83 mm(制造目标:0.87 mm)和 CHD2 = 1.38 mm(制造目标:1.48 mm)的表面硬化 16MnCr5 试样的疲劳试验结果进行了比较,适用于缺口半径为 R4 的试样,载荷比 R = -1。可以看出,与 CHD2 相比,CHD1 条件下的试样表现出略高的疲劳强度和更高的耐久极限。两种表面硬化深度的静态强度相同。此外,可以看出,在 CHD1 和 CHD2 的应力幅值为 750 MPa 和 600 MPa 时,失效源由缺口根部的裂纹变为源自部件内部和芯材的裂纹。用感应硬化 42CrMo4 制成的试样分析了&苍产蝉辫;SHD1 = 0.33 mm(制造目标:0.4 mm)和 SHD2 ≈ 1.6 mm(目标:1.6 mm)这两个硬化深度,从图2(右)可以看出,具有较厚表面层的缺口试样在整个疲劳寿命范围内具有明显更高的疲劳强度。SHD2 的应力-寿命曲线向上移动 175 MPa,因此也达到了更高的静态强度和耐久极限。值得注意的是,对于硬化深度,静态强度没有明显的渐近方法,并且测试结果显示出非常低的散射。在所有测试中,裂纹都是从缺口根部开始的。

图2 在 R = -1、缺口半径 R4 下测试的不同表面层深度的应力-应变曲线比较:16MnCr5 表面硬化(左),42CrMo4 感应硬化(右)

(3)对于表面硬化部件,失效不仅可能始于缺口根部,还可能始于从高强度表面层到低强度芯材的过渡区域。对于由感应硬化 42CrMo4 制成的试样,在所有测试中,失效都源于试样表面(缺口根部)。即使在较低的应力下,也无法检测到从高强度表面层材料到低强度芯材的过渡区域中的裂纹萌生。为研究表面硬度对疲劳寿命的影响,引入了模型“厚表面层",用于表面硬化部件的疲劳强度评估。该模型引入了忽略强度、硬度和残余应力梯度的假设,即所谓的两层模型。因此,强烈简化的结构仅由两个均质区域组成:低强度芯材和高强度表面层,参见图3(左)。

图3 轴对称两层模型的二维截面和弹性理论有限元分析的应力分布(左),用于估计核心侧界面点 4 和缺口根点8 处弹塑性应变的近似方法的示意图(右)

(4)统计参数散点范围&苍产蝉辫;T&苍产蝉辫;和中位数&苍产蝉辫;m 用于评估准确性。图 4(左)显示了 TYPE 1 的类组件试样的测试结果,从图中可以看出,精度较好,在较高的负载循环失效区域,保守的一侧略有偏差。图 4(右)显示了根据模型“厚表层"计算的 TYPE 2 类组件试样的疲劳试验的 N-N 图。从图中可以看出,这种类型的组件的分散性增加。在 LCF 状态下,在缺口根部出现裂纹的测试估计更不安全,并且在104以上的负载循环估计结果较为保守。

图4&苍产蝉辫;N-N 图作为计算的疲劳寿命与相应的试验疲劳寿命的比较。带表面层的组件:TYPE 1(左)和 TYPE 2(右)

联系我们

地址:天津市津南区泰康智达产业园 传真: 贰尘补颈濒:蝉补濒别蝉蔼肠补谤别-尘肠.肠辞尘
24小时在线客服,为您服务!
9I果冻制作厂_911制品厂麻花
关注微信

扫一扫,关注微信

版权所有 © 2025 9I果冻制作厂_911制品厂麻花 技术支持: GoogleSitemap

在线咨询
蚕蚕客服
QQ:2198388433
电话咨询
关注微信